Am fi fost cu totii tentati sa credem ca dupa problema pe care au avut-o anul trecut cu noile iPhone-uri lansate, Apple va sta departe de ideea de smartphone-uri flexibile, insa o serie de brevete, care au aparut in presa, ne arata ca Apple are in vedere producerea de dispozitive electronice flexibile.
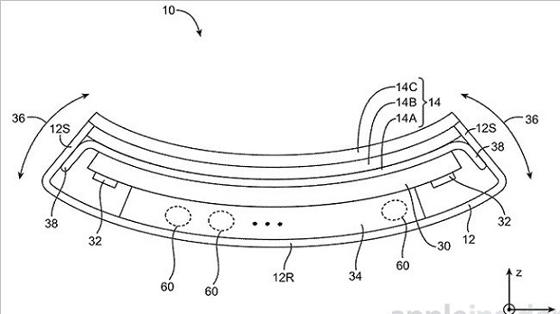
Brevetul, solicitat in septembrie 2011 si acordat pe data de 6 ianuarie 2015, demonstreaza faptul ca Apple incearca de mai mult timp sa gaseasca o solutie pentru a crea un dispozitiv electronic care sa aiba un ecran flexibil, care sa poata fi indoit astfel in cat sa se poata transforma intr-unul si mai mic, fara a afecta insa ecranul sau componentele.
Dupa ce LG G Flex 2 a impresionat la CES 2015, este clar ca exista un interes aparte pentru telefoanele inteligente curbate sau ecranele si carcasele care indoaie.
Conform brevetului celor de la Apple, printre avantajele electronicelor flexibile se afla si faptul ca permit dispozitivelor „sa fie mult mai rezistente la deteriorare in urma impactului, deoarece dispozitivul flexibil se poate indoi sau deforma, absorbind in acelasi timp impactul”.
Un iPhone flexibil ar veni cu o noua interfata, care ar profita de flexibilitate. Dupa cum noteaza, Apple Insider, aceasta ar putea include abilitatea de a strange dispozitivul pentru a-l porni sau opri.
Desi nu mai departe de ziua de ieri Apple a primit brevetul, nu vom vedea prea curand pe piata noile iPhone-uri care se indoaie.
